(多选)(2023·宁波市北仑中学开学考)关于摩擦力,有人总结了四条“不一定”,其中说法正确的是 ( )
解析:
摩擦力的方向不一定与物体的运动方向相反,也可能与物体的运动方向相同,选项A正确。静摩擦力的方向不一定与运动方向共线,也可能与运动方向成一定角度,例如用手竖直握住瓶子,让瓶子水平移动,选项B正确。受静摩擦力的物体不一定静止,例如货物在倾斜传送带上向高处运动时,货物受静摩擦力但不静止;受滑动摩擦力的物体不一定运动,例如正在滑轨上滑行的物体,滑轨受到滑动摩擦力,而滑轨是静止的,选项C正确。静摩擦力和滑动摩擦力都既可能是阻力,也可能是动力,选项D错误。
(2024·杭州第二中学期中)智能机械臂已广泛应用于各个领域。如图所示,一个机械臂将铁夹转到水平位置,然后竖直夹起一个金属小球,小球在空中处于静止状态,铁夹与球接触面保持竖直,则 ( )

解析:
无论是静止状态,还是匀速平移状态,在竖直方向上小球受到的重力与静摩擦力二力平衡,可知静摩擦力与重力大小相等,方向相反,故A、C、D错误,B正确。
如图所示,小明正在擦一块竖直放置的黑板。下列关于擦黑板的几种说法正确的是 ( )

解析:
黑板擦相对黑板滑动,所以是滑动摩擦力,故A错误;摩擦力的大小与手压黑板擦的力成正比,与黑板擦的重力无关,故B错误;根据滑动摩擦力公式Ff=μFN可知滑动摩擦力与压力成正比,所以压力越大,黑板与黑板擦之间的摩擦力越大,故C正确;若黑板擦不小心脱手,黑板擦对黑板的压力为零,所以它们之间没有摩擦力,即在自由下落的过程中不可能把字擦掉,故D错误。
(2023·金华市十校期末)如图所示,一张沙发放在水平地面上,一人用水平力F向右推沙发。F=40 N时沙发没被推动,F=60 N时沙发恰好被推动,F=55 N时沙发做匀速直线运动。关于沙发受到的摩擦力,下列说法正确的是 ( )

解析:
当F=40 N时,沙发没有被推动,此时受到的摩擦力为静摩擦力,大小与推力大小相等,为40 N,方向向左,故A、B错误;当F=55 N时,沙发做匀速直线运动,即此时沙发受到的摩擦力为滑动摩擦力,由二力平衡可知大小为55 N。根据滑动摩擦力的影响因素可知,当F=80 N时,沙发受到的摩擦力仍为滑动摩擦力,大小仍为55 N,方向向左,故C错误;当F=60 N时沙发恰好被推动,即此时沙发受到的静摩擦力达到最大值,故沙发和地面间的最大静摩擦力大小为60 N,故D正确。
(2024·绍兴市诸暨中学期中)如图所示,重力为30 N的木块原来静止在水平桌面上,某瞬间在水平方向同时受到两个方向相反的力F1、F2的作用,其中F1=13 N,F2=5 N。已知木块与桌面间的动摩擦因数为0.3,设最大静摩擦力等于滑动摩擦力。
![]()
(1)求最大静摩擦力大小;
(2)求木块所受的摩擦力的大小和方向;
(3)当只将F1撤去时,木块受到的摩擦力的大小和方向;
(4)若只将F2撤去时,求木块受到的摩擦力的大小和方向。
答案: (1)9 N (2)8 N 方向向左 (3)5 N 方向向右 (4)9 N 方向向左
解析:
(1)最大静摩擦力为Ffmax=μFN=μG=0.3×30 N=9 N;
(2)因F1-F2=8 N<Ffmax,则木块处于静止状态,由于F1>F2,故静摩擦力方向向左,大小为Ff1=F1-F2=13 N-5 N=8 N;
(3)当只将F1撤去时,由于F2<Ffmax,木块在F2的作用下仍然处于静止状态,则Ff2=F2=5 N,方向向右;
(4)若撤去F2,因为F1>Ffmax,所以木块将滑动,所受的摩擦力为滑动摩擦力,则有Ff3=μG=9 N,方向向左。
(多选)传送带是生活及生产中的常见设备,它能帮助人们自动运送物品。如图所示,粮食包随倾斜的传送带向上运动,运动中粮食包与传送带上某点的相对位置保持不变,关于粮食包或传送带所受的摩擦力,下列说法正确的是 ( )

解析:
粮食包相对传送带静止,则粮食包所受的摩擦力为静摩擦力,粮食包相对传送带有向下运动的趋势,则粮食包受传送带的静摩擦力方向沿传送带向上,选项A、B正确;若传送带匀速运动,因传送带倾斜,则粮食包仍受传送带的摩擦力作用,选项C错误;粮食包所受传送带的摩擦力的方向与传送带平行,选项D错误。
如图所示,水平传送带上放一物块,当传送带顺时针方向以速度v匀速运动时,物块在轻弹簧的水平拉力作用下处于静止状态,此时弹簧的伸长量为Δx;当传送带顺时针方向匀速转动的速度增加到2v时,弹簧的伸长量为Δx'。则关于弹簧前、后的伸长量,下列说法中正确的是 ( )

解析:
传送带的速度方向不变,不管速度大小如何变化,物块所受的滑动摩擦力方向向右,大小总等于μmg,与弹簧弹力平衡,由于滑动摩擦力大小不变,则弹簧弹力不变,根据F=kx,知弹簧的形变量不变,始终有Δx'=Δx,故选D。
笔、墨、纸、砚是中国独有的书法绘画工具(书画用具)。在楷书笔画中,长横的写法要领如下:起笔时一顿,然后向右行笔,收笔时略向右按。如图所示,某同学在水平桌面上平铺一张白纸用毛笔练习长横写法,为防止打滑,他在白纸的左边缘处放置一块镇纸,如图所示。该同学向右行笔过程中,下列说法正确的是 ( )

解析:
镇纸相对白纸无运动趋势,则镇纸对白纸无摩擦力,选项A错误;毛笔相对白纸向右运动,则毛笔对白纸有摩擦力,方向向右,选项B错误;因毛笔对白纸有向右的摩擦力,则桌面对白纸有方向向左的摩擦力,选项C正确,D错误。
如图甲所示,用水平力F将质量为0.4 kg的物块压在竖直墙壁上静止不动,物块与墙面间的动摩擦因数为0.4。若力F随时间t变化的规律如图乙所示,取重力加速度g=10 m/s2,设最大静摩擦力等于滑动摩擦力,则下列图像中,能正确反映物块所受墙的摩擦力大小Ff随时间t变化规律的是 ( )



解析:
t=0时,物块受到的最大静摩擦力Ffmax=μFmax=0.4×20 N=8 N,重力G=mg=0.4×10 N=4 N,故开始时,物块处于静止状态,受到静摩擦力作用。当最大静摩擦力等于重力时,mg=μF',得F'=10 N,由题图乙知对应时刻为2 s,所以0~2 s内,物块受到的静摩擦力大小为4 N;2~4 s内,物块受到的滑动摩擦力Ff=μF,随F减小而逐渐减小,B正确。
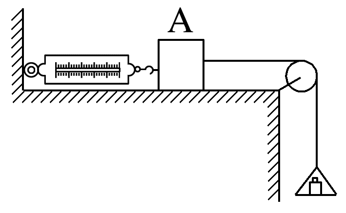
(多选)如图所示,放在水平桌面上的木块A处于静止状态,所挂的砝码和托盘的总质量为0.5 kg,弹簧测力计读数为2 N,滑轮摩擦不计,重力加速度g取10 N/kg。若轻轻取走盘中0.2 kg的砝码,将会出现的情况是 ( )

解析:
开始时,木块A受水平向左的摩擦力,其大小为Ff1=m1g-FT=3 N,若轻轻取走盘中0.2 kg的砝码,假设木块A仍能保持静止,且所受摩擦力方向依然水平向左,则其大小为Ff2=m2g-FT=1 N<Ff1,故假设成立,则桌面对A的摩擦力变小,所以A对桌面的摩擦力也变小,综上所述可知A、C正确,B、D错误。
如图所示,A与桌面间的最大静摩擦力为10 N,不计定滑轮与轻绳之间的摩擦。拉力F=30 N时,系统处于静止状态。求物体B的质量M的取值范围。(重力加速度g=10 m/s2)

答案: 2 kg≤M≤4 kg
解析:
当物体B质量较大时,重物A有向右运动的趋势,则静摩擦力方向向左,当静摩擦力最大时,物体B的质量最大,
有Mmaxg=F+Ffmax,
解得Mmax=4 kg,
当物体B质量较小时,重物A有向左运动的趋势,
则静摩擦力方向向右,当静摩擦力最大时,物体B的质量最小,
有Mming=F-Ffmax,
解得Mmin=2 kg,
综上可知物体B的质量M的取值范围为2 kg≤M≤4 kg。